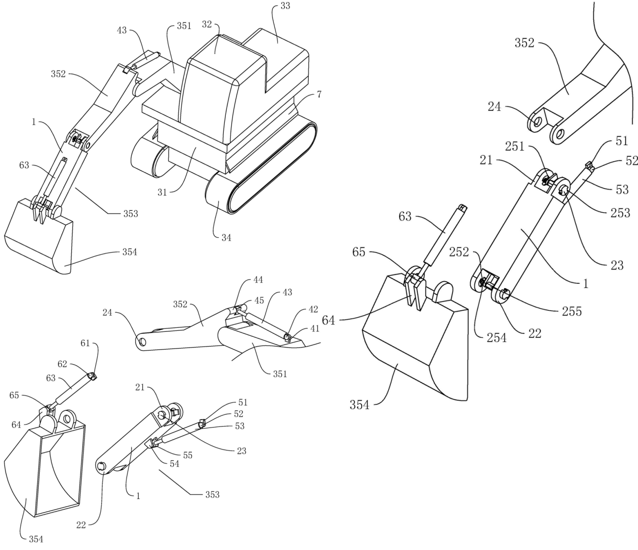
加長臂是為拓展挖掘機工作范圍根據工況要求而特殊設計制造的挖掘機前端工作裝置;按其性能分為固定式加長臂、滑移式加長臂、伸縮式加長臂等;利用超長型動臂和超長型斗桿,可在疏浚、護岸、坡面以及地鐵建設等受地面環境限制的工況下發揮作用。
材質:Q345錳鋼
可加長度:0.3m-10m
控制方式:液壓控制
適用機型:全系可用
定制介紹
加長臂是為拓展挖掘機工作范圍根據工況要求而特殊設計制造的挖掘機前端工作裝置;按其性能分為固定式加長臂、滑移式加長臂、伸縮式加長臂等;利用超長型動臂和超長型斗桿,可在疏浚、護岸、坡面以及地鐵建設等受地面環境限制的工況下發揮作用。
掘機加長臂分為二段式、三段式、四段式,二段式主要適用于土砂、混凝土等建筑搬運、高速公路坡面修整及河道疏通清淤及建筑基礎、河道、深溝等土石方挖掘作業等;三段式、四段式主要適用于高層建筑樓體的拆解等作業等。最主要的是:要根據加長臂重量的需要,適當加重后屁股配重塊的配重重量,以保持前后平衡。避免挖掘機工作中出現事故。

定制視頻